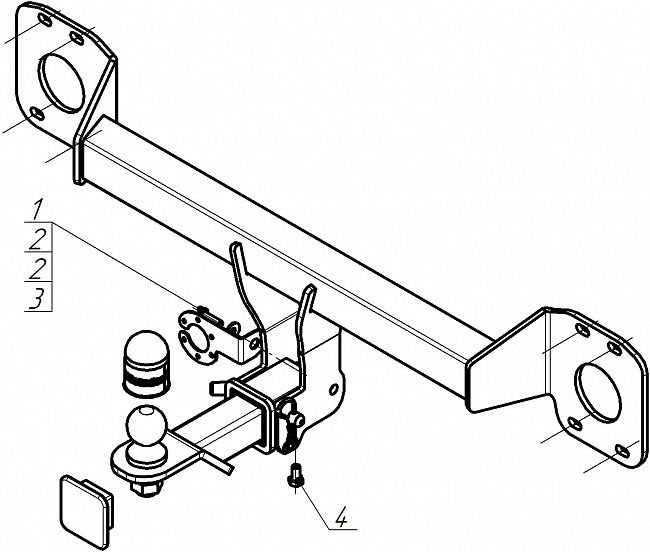
Фаркоп Motodor для Geely Atlas FX11 (Mk.II) 2024- шар Е

Под заказ от 14 дней
Цена по запросу
Комплекты электрики к этому фаркопу:
Нагрузка горизонтальная
1500 кг
Тип фаркопа
Горизонтально-съемный
Тип шара
E
Необходим Smart Connect
Да
Нагрузка вертикальная
75 кг
Инструкции и файлы
Нагрузка горизонтальная
1500 кг
Тип фаркопа
Горизонтально-съемный
Тип шара
E
Необходим Smart Connect
Да
Нагрузка вертикальная
75 кг
Электрика в комплекте
Нет
Вырез в бампере
Да
Утилизация усилителя бампера
Нет
Демонтаж бампера
Да
Сверление кузова
Нет
Страна производства
Россия
Гарантия
12 месяцев
Оборудование и аксессуары для VOLKSWAGEN TIGUAN 2025
Все товары
бренда MOTODOR